特長・用途
- 完全防水対応(JIS C 0920 7等級/防浸型)
- オールステンレス製
- 小型・軽量
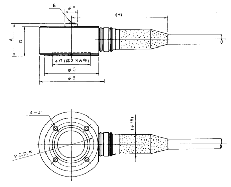
型式・外観寸法

型式名と定格容量・寸法(単位:mm)・固有振動数・質量
| 型式名 | 定格容量 | A | B | C | D | E | F | G | H | J | K | 固有振動数 | 質 量 |
|---|---|---|---|---|---|---|---|---|---|---|---|---|---|
| RCD-500NUA | 500 N | 30 | 60 | 50 | 27 | SR50 | 12 | 36 | 88 | M5深6 | 42 | 3.6 kHz | 0.5 kg |
| RCD-1KNUA | 1 kN | 30 | 60 | 50 | 27 | SR50 | 12 | 36 | 88 | M5深6 | 42 | 5.4 kHz | 0.5 kg |
| RCD-2KNUA | 2 kN | 30 | 60 | 50 | 27 | SR50 | 12 | 36 | 88 | M5深6 | 42 | 7.8 kHz | 0.5 kg |
| RCD-5KNUA | 5 kN | 30 | 60 | 50 | 27 | SR50 | 12 | 36 | 88 | M5深6 | 42 | 13 kHz | 0.5 kg |
| RCD-10KNUA | 10 kN | 30 | 60 | 50 | 27 | SR50 | 12 | 36 | 88 | M5深6 | 42 | 16 kHz | 0.5 kg |
| RCD-20KNUA | 20 kN | 30 | 60 | 50 | 27 | SR50 | 12 | 36 | 88 | M5深6 | 42 | 23 kHz | 0.6 kg |
| RCD-50KNUA | 50 kN | 40 | 98 | 88 | 35 | SR70 | 24 | 65 | 98 | M6深12 | 76 | 7.7 kHz | 1.6 kg |
| RCD-100KNUA | 100 kN | 40 | 98 | 88 | 35 | SR70 | 24 | 65 | 98 | M6深12 | 76 | 11 kHz | 1.6 kg |
| RCD-200KNUA | 200 kN | 45 | 116 | 106 | 40 | SR100 | 33 | 73 | 107 | M8深15 | 90 | 5 kHz | 2.9 kg |
※未記載の項目確認は取扱説明書又は当社までお問い合わせください。
※質量はケーブルを含みません。
※全て受注生産品です。
仕様・規格
| 許容過負荷 | 150 %R.C. |
|---|---|
| 定格出力 | 2 mV/V±1 % |
| 直線性 | 0.15 %RO(500 N~20 kN) |
| 0.10 %RO(50 kN~200 kN) | |
| ヒステリシス | 0.15 %R.O. |
| 繰り返し性 | 0.1 %R.O. |
| 推奨印加電圧 | 12 V 以内 |
| 許容印加電圧 | 20 V |
| 入力抵抗 | 425 Ω |
| 出力抵抗 | 350 Ω |
| 温度補償範囲 | -10~60 ℃ |
| 許容温度範囲 | -30~80 ℃ |
| 零点の温度影響 | 0.01 %R.O./℃ |
| 出力の温度影響 | 0.01 %/℃ |
| ケーブル | Φ8.5 mm 4芯シールドケーブル5 m、先端むき出し |