特長・用途
- 小型・軽量・電動&油圧プレス荷重管理用
- 上下フランジ取付のため治具および既設プレス機への装着が容易
- センターホール型ロードセルのため中空を利用した計測応用が可能
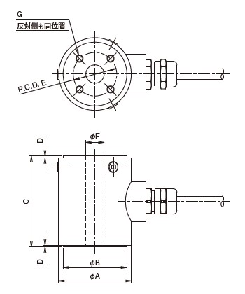
型式・外観寸法

型式名と定格容量・寸法(単位:mm)・固有振動数・質量
| 型式名 | 定格容量 | A | B | C | D | E | F | G | 固有振動数 | 質 量 |
|---|---|---|---|---|---|---|---|---|---|---|
| PHC-5KN | 5 kN | 40 | 35 | 50 | 1 | 24 | 10 | 4-M4深8 | 8.7 kHz | 0.3 kg |
| PHC-10KN | 10 kN | 62 | 55 | 70 | 2 | 44 | 18 | 4-M5深8 | 5.4 kHz | 1.0 kg |
| PHC-20KN | 20 kN | 62 | 55 | 70 | 2 | 44 | 18 | 4-M5深8 | 7.5 kHz | 1.0 kg |
| PHC-30KN | 30 kN | 62 | 55 | 70 | 2 | 44 | 18 | 4-M5深8 | 9.2 kHz | 1.0 kg |
| PHC-50KN | 50 kN | 62 | 55 | 70 | 2 | 44 | 18 | 4-M5深8 | 11 kHz | 1.0 kg |
| PHC-100KN | 100 kN | 62 | 55 | 80 | 2 | 44 | 18 | 4-M5深8 | 12 kHz | 1.3 kg |
| PHC-200KN* | 200 kN | 88 | 80 | 100 | 2 | 60 | 20 | 4-M8深12 | 9.6 kHz | 2.9 kg |
| PHC-300KN* | 300 kN | 100 | 90 | 120 | 2 | 70 | 20 | -4-M8深15 | 8.5 kHz | 4.6 kg |
| PHC-500KN* | 500 kN | 134 | 120 | 150 | 2 | 90 | 30 | 4-M10深16 | 6.6 kHz | 11 kg |
注)取付インロウ部の交差寸法は上下面ともΦFH8,ΦBh7です。但し、ΦFH8寸法は有効5 mmとなります。
※*記号の製品は受注生産です。
※質量はケーブルを含みません。
仕様・規格
| 許容過負荷 | 120 %R.C. |
|---|---|
| 定格出力 | 1 mV/V±1 % |
| 直線性 | 0.5 %R.O. |
| ヒステリシス | 0.5 %R.O. |
| 繰り返し性 | 0.3 %R.O. |
| 推奨印加電圧 | 12 V 以内 |
| 許容印加電圧 | 20 V |
| 入力抵抗 | 350 Ω |
| 出力抵抗 | 350 Ω |
| 温度補償範囲 | -10~70 ℃ |
| 許容温度範囲 | -30~80 ℃ |
| 零点の温度影響 | 0.01 %R.O./℃ |
| 出力の温度影響 | 0.01 %/℃ |
| ケーブル | Φ6 mm-4芯シールドケーブル3 m、先端むき出し |